安科兴功能模块全面升级!涉及26大模块,共计100个功能点
2025-09-17 14:32:38
应广大用户的需求,安科兴近期进行了功能模块的升级优化,涉及隐患汇报、隐患排查、学习中心、考试中心、作业票等26大模块,共计100个功能点,下面对功能优化进行介绍:
【01 隐患汇报】
1.新增【临时措施】和【长期措施】字段
【整改措施】和【长期措施】字段只能二选一,勾选其中一个,另一个就不能再勾选;隐患汇报设置页面新增配置项,无审批流程提交隐患时整改/临时/长期措施为必填项。

隐患汇报——设置页面新增配置:

提交隐患时,隐患照片为必填项,后台隐患汇报——设置页面增加配置项,默认不勾选。

3.AI识隐患匹配“隐患依据”
AI识别所上传图片隐患时,将“隐患依据”作为结果一并识别且填充到输入框,前后端所有页面均需展示该字段。若该字段管理员未勾选展示,则在隐患识别结果也需隐藏该字段。

手机端AI识隐患界面展示:

4.新增“检查类型”字段
“字段设置”页面新增“检查类型”字段,若勾选展示该字段,则前后端所有提交、查看、导入、导出隐患页面均需展示该字段;若不勾选则隐藏,默认不勾选。

手机端提交隐患页面内新增“检查类型”字段,该字段为非必填字段,展示方式为下拉选择,允许超级管理员在移动端修改默认下拉内容。

页面上只显示【描述】【隐患类别】和【状态】三个选项,点击筛选按钮展示【汇报人】【汇报部门】【整改人】和【整改部门】四个字段。

6.提报隐患合并整改部门和整改负责人字段
提交隐患时取消【整改部门】字段,部门字段合并到【整改负责人】字段,后台端隐患提交同样处理;搜索【整改负责人】时,即可以通过部门模糊查询,也可以通过姓名模糊查询;

7.移动端部门负责人默认能看到自己部门及下属子部门的记录

【02 隐患排查】
由隐患汇报——字段设置里面同步;隐患排查设置页面新增配置项,提交隐患时整改/临时/长期措施为必填项。(同隐患汇报功能)
提交隐患时,隐患照片为必填项,后台隐患排查——设置页面增加配置项,默认不勾选。(同隐患汇报功能)
AI识别所上传图片隐患时,将“隐患依据”作为结果一并识别且填充到输入框,前后端所有页面均需展示该字段。若该字段管理员未勾选展示,则在隐患识别结果也需隐藏该字段。(同隐患汇报功能)
“字段设置”页面新增“检查类型”字段,若勾选展示该字段,则前后端所有提交、查看、导出隐患页面均需展示该字段;若不勾选则隐藏,默认不勾选。(同隐患汇报功能)
手机端单地点的排查任务,地点需要显示在排查页面上,若涉及单地点拍照的,改成在排查任务页面进行拍照,不拍照无法提交。

6.新增【排查照片】字段
用户在手机端排查时可上传现场照片,最多上传6张。


8.手机端排查任务界面新增“清除缓存”功能
隐患排查任务执行页面,新增“清除缓存”按钮,点击按钮一键清除员工所填写的所有内容。

9.移动端部门负责人默认能看到自己部门及下属子部门的记录
移动端隐患汇总-部门隐患,页面展示本部门及下级子部门的相关数据信息。

【03 隐患汇总】
1.管理员设置针对隐患汇总模块增加“删除”权限
管理员设置里面针对隐患汇总模块单独增加一个删除权限设置。

【04 风险分级管控】

【05 安全巡查】
1)点击橙色按钮【巡查记录】,在查看巡查结果的页面新增【添加巡查记录】按钮;

2)无隐患的巡查记录需要填写巡查详情、巡查照片和巡查人员姓名,其中巡查照片非必填,最多3张;

2.将隐患汇报的隐患类别和类型关联到安全巡查
根据隐患汇报中的类别管理,关联到安全巡查提交隐患时的隐患类别和隐患类型字段内容中。

3.提交隐患时增加备注字段
提交隐患时增加备注:

【06 三级安全教育】
考试提交后,如果不合格会给出提示,同时展示答案,重考需点击重新考试按钮。

2.员工离职时进行讲师转移
员工离职时,如果是三级安全教育某线下课程的讲师,删除员工时将讲师的权限转移;员工删除时三级安全教育交接【责任人】、【讲师】相关的权限。

【07 学习中心】
后台端学习中心—课程管理—学习情况页面和学习记录页面导出的文件部门信息展示关联层级部门。


2.学习课程到期后不能学习
后台新增配置:学习到期后不能学习。通过移动端进入课程页面展示“该课程已到期”的提示页面。默认不勾选。


3.课程管理界面增加“导出”功能
学习中心——课程管理界面增加导出功能,新增时间范围的筛选,根据筛选条件导出课程台账。

【是否需要考试】默认选否,如果选择是会展开显示【请选择试卷】和【是否允许重考】;默认选否,如果选是会出现【重考次数】,“最大99,超过次数后无法考试”。

学习中心发布任务的页面,增加一个本次学习是否纳入积分的按钮,默认选是。

6.下属企业可下载集团发布的学习文件
集团发给子公司的学习文件,子公司管理员可以通过后台下载文件存档。

7.增加培训任务复制功能
在添加新任务时,新建任务界面,课程名称旁新增按钮【选择课程】,可以查看并选择历史任务进行复制。只复制课程内容,不复制参与人员名单。

8.移动端查看学习情况增加日期排序
移动端查看学习情况时,可以点击完成日期进行正序或倒序排列展示。

9.学习记录增加二级管理员权限关联
二级管理员(所在部门及下级部门或者特定部门),无法查看超级管理员和全公司权限的人员下发的任务,但是学习记录页面能够查看权限范围内所有课程的员工完成情况。

10.学习记录页面部门筛选包含下级部门人员的培训情况
学习记录页面部门筛选,结果包含下级部门人员的培训情况。例如下图筛选生产部,会包含冲压车间及下级部门和焊接车间的学习情况。

11.新增课程到期前提醒推送
管理员可设置课程到期前对学习人员进行推送提醒,最大输入值为99,最小输入值为0,输入0即不发送推送提醒。


【08 考试中心】
考试试题单题上传,允许gif格式,便于员工理解问题。

2.新增【是否关联积分】选项
考试中心发布任务的页面,增加一个本次考试是否纳入积分的按钮,默认选是。

3.优化后台考试情况的阅卷状态
考试中心下发的任务没有简答题时,后台考试详情页面去掉阅卷状态查询、阅卷操作、列表阅卷状态字段。
有简答题需要阅卷的页面如下:

4.增加考试任务复制功能
在添加新任务时,新建任务界面,试卷名称旁新增按钮【选择试卷】,可以查看并选择历史任务进行复制。只复制内容,不复制参与人员名单。

5.每套试卷可指定相应阅卷人员
添加试卷时,添加简答题会出现【阅卷人员】字段,无简答题时该字段隐藏;最多可选五人。

6.考试记录增加二级管理员权限关联
二级管理员(所在部门及下级部门或者特定部门),无法查看超级管理员和全公司权限的人员下发的考试任务,但是考试记录页面能够查看权限范围内所有试卷的考试情况。

7.批量导出试卷包含员工签字信息
考试中心—试卷管理—考试情况—导出试卷时,包含考试人员签名的图片。

【09 培训和会议】
培训/会议发布页面,增加一个本次考试是否纳入积分的按钮,默认选是。

添加培训/会议安排时,在“培训/会议名称”输入框右侧新增“选择培训/会议”按钮,管理员可选择系统内已创建的培训/会议安排,将该条安排的所有添加数据复制到当前页面,复制后支持管理员在页面对数据进行修改。

培训会议结束后,管理员通过列表“编辑”按钮进入页面仅可编辑以下数据:培训/会议简介、培训/会议目的、培训/会议资料、注意事项。不可编辑字段置灰显示。编辑后系统不会新建一条培训/会议安排。
【10 每日一题】
每日一题任务当天的试题只能当天作答,过期就无法答题;后台每日一题——设置页面增加配置项:“隔日无法答题”,默认不勾选。

2.移动端新增查看答题情况功能
1)超级管理员默认能查看所有部门的答题情况;
2)部门负责人默认能查看自己所在部门的答题情况;
3)后台设置页面添加权限的人员能查看所有部门的答题情况;
4)普通员工仅查看自己的答题情况。


【11 作业票】
【八大作业票】模块无论内部还是外协人员提交的作业,作业结束为“待验收”状态时可以由系统内超管或有权限的二级管理员电脑后台操作闭环。

作业票提交申请时填写内容自动存入本地缓存,没有提交的数据下次进入页面保留历史填写数据,可接着填写。存草稿大概有五秒的缓冲时间进行保存。
关联作业票时应互相显示作业票信息,同时展示作业编号。

4.无限存草稿
针对八大作业票,以前只能存一个草稿,现在改成无限存,存多张时列表就显示多条待提交的记录,待提交的数据默认展示在最前面。

5.完工确认人审批时增加一个输入框
针对八大作业票,完工确认人审批通过时新增【完工备注】字段。

6.动火作业票动火部位为必填项
动火作业票填写信息将动火部位字段设置为必填项。

7.开票时上传附件允许实时拍照
移动端提交作业票申请时上传附件,优化不同手机型号都能够进行拍照上传。

8.优化作业票审批流程
针对八大作业票,涉及多级审批时,根据审批级别逐级给对应的审批人推送审批通知。
1)审批通过的审批时间,还未到作业计划的开始时间,则显示为未开始状态,且无法进行作业提交;
2)审批通过的审批时间,在作业计划的开始时间之后,则显示为作业中状态,实际开始时间按照审批通过时间显示。

10.新增作业票作废功能
后台列表增加【作废】操作:
1)作业未开始之前,作废按钮置灰,无法操作;
2)作业中及未完成前,作废按钮为蓝色,可以操作;
3)已经作废的记录会保留,作废按钮置灰,无法再次操作;
4)已完成的作业,作废按钮置灰,无法操作。

【12 设备故障上报】
后台设备台账管理,可自定义字段信息,默认设备名称、设备编号和状态三个字段为必填项;可点击“添加”按钮,新增设备相关字段且可定义该字段是否为必填;自定义的字段,鼠标移动到该字段上会出现编辑、删除按钮。

2.后台新增故障类型管理子模块
后台新增【故障类型管理】子模块,由后台管理员进行管理,手机端针对后台预设的故障类型进行下拉选择。

3.移动端扫码显示完整的设备信息
移动端扫设备二维码时的页面:

4.移动端部门负责人默认能看到自己部门及下属子部门的故障情况
部门负责人手机端故障上报-部门故障页面展示本部门及下级子部门的相关数据信息。

【13 设备点检】
点检次数为1-3次时,需要填写【点检班次时间】,点检会严格根据班次时间进行统计。
点检次数为4-12次时,无需填写【点检班次时间】,点检也无需按照班次时间来做限制,每次执行完点检需要间隔1小时后才可以开始下一次点检,每日超过3次的点检任务,月汇总表也只会显示前3次的记录。

2.新增“点检照片”字段
用户在手机端点检时可上传现场点检照片,最多上传6张。

3.移动端扫码显示完整的设备信息
移动端扫点检二维码时显示完整的设备信息,默认收起,支持展开。

4.后台新增点检记录模块
后台新增一个查看全部点检记录的模块,管理员能够导出/筛选/查看点检情况,导出会根据筛选的结果直接导出excel表。

5.点检频率按照自然月进行限制
1)频率为天:按照任务设置的天频率进行时间间隔,频率到下个月1号开始重新计算和统计;
2)频率为周:按照任务设置的周频率进行时间间隔,频率到下个月1号开始重新计算和统计;
3)频率为月:每月的频率下个月1号就可以重新点检,重新统计;每N月的频率到N个月后的1号就可以重新点检,重新统计;
4)频率为季度:改成根据自然季度来统计(1/2/3月为一个季度,4/5/6月为一个季度),每季度~每N季度到N季度后的1号就可以重新点检,重新统计;
5)频率为年:每年~每N年的频率到N年后的1月1号就可以开始重新点检,重新统计。
6.移动端部门负责人默认能看到自己部门及下属子部门的点检情况
部门负责人手机端设备点检-故障汇总—部门故障页面展示本部门及下级子部门的相关数据信息。

【14 库存管理】

2.新增当前库存小于安全库存时进行消息提醒
当物品当前库存小于安全库存时后台设置的库管员手机端会收到对应的消息推送,设置提醒间隔时间,每天上午九点(或者下午一点半)进行提醒,提醒天数只能输入整数数字。

3.点击物资安全库存提醒推送跳转到该物资的详情页面
用户可点击物资安全库存提醒推送跳转到该物资的详情页面,页面展示物资基本信息,当前库存数据用红色字体展示。

4.提交出库申请时允许选择多个物品
移动端提交页面新增添加按钮,用户可一次性选择多个物品提交出库申请。点击物品名称后面的蓝色按钮,页面如下:

5.后台支持批量出库
后台出/入库管理页面新增“批量出库”按钮,管理员可通过该页面将需要出库的物品信息整合到Excel内,上传到系统更新当前库存。成功批量出库的数据在“详情”列表体现。


6.根据勾选字段对导入、导出模版实时更新
系统将根据管理员在“基础信息管理”内所设置的字段对“出/入库管理”的导入、导出模版Excel实时更新,即用户勾选展示的所有字段均需在导入、导出模板Excel内。
后台审批设置的“一级审批”新增“指定人员”的选项,后台可设置多个一级审批人员,被指定的人员将同时收到员工提交的出库申请,任一人员审批即可。

【15 积分管理】
积分统计明细列表内展示员工的“岗位”数据,导出的Excel一并增加。

2.优化批量加分、批量减分按钮
合并“批量加分”、“批量减分”按钮为“批量加减分”;进入页面后先选择加减规则(加分或减分),“分值”字段选择加分时只能输入正整数,选择减分时只能输入负整数。

3.积分加减:新增“导入”按钮
新增“导入”按钮;点击“导入”按钮下载导入模板,支持通过文件导入积分加减分(最多100条)。

【16 通知公告】
在添加新任务时,标题旁边增加【选择公告】按钮,弹出页面查看历任务并进行复制。只复制内容,不复制参与人员名单;

【17 合理化建议】
新增配置“部门负责人需要上级审批”,默认是勾选状态。取消勾选后,部门负责人提交合理化建议不需要上级审批。根据审批级别,若只有一级审批时,部门负责人提交后无需审批直接到下一环节;二级/三级审批时,跳过一级审批直接到下一级审批。

2.优化后台导出合理化建议时间详情
合理化建议导出的excel表中,提交时间和系统完成日期,精确到时分秒。
部门负责人手机端合理化建议-部门建议页面展示本部门及下级子部门的相关数据信息。

【18 体检管理】
1.员工收到体检报告后需签字确认
员工收到报告后需要签字确认,拒绝时需要通知上传报告的人和部门负责人,后台可以查看签名和拒绝原因。后台上传报告时还可以上传一份额外的附件。
1)后台增加体检管理的设置页面,设置页面中有“员工签字确认体检报告”选项,默认不勾选;

2)新增【上传附件】功能,只能上传一份,文件需小于20M。

【19 证件管理】
1)责任人、添加人、部门负责人和超管权限不变,移动端能够查看和编辑;
2)证件管理设置页面新增持证人编辑权限,默认勾选;
3)证件管理设置页面查看权限设置,添加的人员保留查看功能,取消编辑功能。

【20 任务管理】
部门负责人手机端任务管理-部门任务页面展示本部门及下级子部门的相关数据信息。

【21 AI智能监控】
每个通道最多添加5个负责人,在产生告警信息的时候每位都能收到消息推送。

【22 访客管理】
访客进入放行后,接待人员能接收提醒推送,访客离开无需对接待人员推送通知提醒,点击该通知可跳转该访客的访客申请详情页。

【23 承包商资质审核】
附件上传数量从2份改到3份,上传文件的格式从仅限图片改成图片、pdf和word,每份大小不超过20M。

【24 非标作业】
非标作业流程到验收环节时,管理员能够在后台进行完工确认人变更,选择对应人员后点击【确认变更】按钮,实现变更完工确认人功能。

【25 施工许可证】
【施工许可证】模块无论内部还是外协人员提交的作业,作业结束为“待验收”状态时可以由系统内超管或有权限的二级管理员电脑后台操作闭环。

2.填写申请时自动存草稿
施工许可证提交申请时填写内容自动存入本地缓存,没有提交的数据下次进入页面保留历史填写数据,可接着填写。存草稿大概有五秒的缓冲时间进行保存。
1)审批通过后,在作业计划时间之前,则显示为未开始状态,且无法进行作业提交;
2)审批通过后,在作业计划时间之后,则跳过未开始状态,直接显示为作业中。

【26 文件管理】
移动端审批人审批时,可填写审批备注,字数限制在200字内。审批层级为多级审批时,每个审批层级都增加审批备注字段。

2.后台文件查询模块新增“发送”按钮
后台文件查询列表新增“发送”按钮,管理员点击后将对“可见范围”内所有人员推送消息通知,提醒用户查看文件。


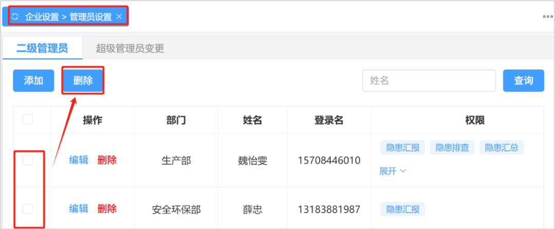
【27 企业设置】
后台企业设置——管理员设置页面增加批量删除功能。

2.新增员工【工号】字段
员工管理模块新增【工号】字段,默认勾选,用户可取消勾选。

3.新增二级管理员密码设置
超级管理员可设置管理员每天修改密码次数及是否强制定期修改密码。可在企业设置——基本信息里面进行编辑。可设置每天二级管理员的密码修改次数,选项为:不限、一次,此设置针对所有二级管理员,包含超级管理员。

【28 可视化大屏】
柱状图的柱子上方显示具体数字,更加直观。

2.轮播图允许最多上传10张照片
管理员在可视化大屏选择展示图片时,允许最多上传10张照片自动滚动播放。

【29 通用设置】
报表显示设置,选择“上级部门”统计方式时能够同“所有部门”的设置一样展示所有的部门的组织架构,如果勾选的部门下面没有子部门即统计本部门数据,如果有下级部门则包含下级部门的数据。

2.优化后台列表查看筛选后跳转问题
编辑或发送操作后不会再自动跳回首页面,整个后台系统全模块优化。
需要调整的模块及消息类型如下:


蜀ICP备18026855号-3 | Copyright © Copyright 2018